aashto truck loading diagram

AASHTO HS20-44 Modified Design Truck | Download Scientific Diagram. 16 Images about AASHTO HS20-44 Modified Design Truck | Download Scientific Diagram : Solved: Fig. P1(a) Shows The Schematic Diagram Of A Truck | Chegg.com, STRUCTURE magazine | AASHTO Vehicle Live Loading and also Solved: Can Someone Solve This Question Step By Step With | Chegg.com.

AASHTO HS20-44 Modified Design Truck | Download Scientific Diagram

AASHTO HS20-44 Modified Design Truck | Download Scientific Diagram www.researchgate.net

aashto hs20

Lecture Notes

Lecture Notes classes.mst.edu

44 truck h20 load weight loads tons tractor 03b mst classes concept edu civeng217

STRUCTURE Magazine | AASHTO Vehicle Live Loading

STRUCTURE magazine | AASHTO Vehicle Live Loading www.structuremag.org

aashto loads equivalent conference

STRUCTURE Magazine | AASHTO Vehicle Live Loading

STRUCTURE magazine | AASHTO Vehicle Live Loading www.structuremag.org

aashto

Complete Batch And Loading Systems

Complete batch and loading systems www.ibs-batchcontrol.com

loading batch systems truck system custody ibs transfer complete batching application typical

References

References www.mi005.com

Truck Loading And Unloading Technical Specification

Truck loading and unloading technical specification www.slideshare.net

unloading

Part I: That's A Load Off My Mind. > Contech Engineered Solutions

Part I: That's a load off my mind. > Contech Engineered Solutions www.conteches.com

load loading lrfd aashto truck hl 93 between vehicular bridge pipe mind per

Truck Turning & Backup Radius | Parking Design, Ramp Design, Civil

Truck Turning & Backup Radius | Parking design, Ramp design, Civil www.pinterest.com

turning radius truck parking trailer lot minimum warehouse tractor fire diagram park ramp space backup semi engine engineering rv civil

Solved: Can Someone Solve This Question Step By Step With | Chegg.com

Solved: Can Someone Solve This Question Step By Step With | Chegg.com www.chegg.com

step question solve someone fbds thanx advance drawings equations hl everything loading truck

OSHAcademy Course 725 Powered Industrial Truck Safety

OSHAcademy Course 725 Powered Industrial Truck Safety www.oshatrain.org

load instability forklift stability truck safety fall raised raising create oshatrain courses

IJCI - Applicability Of The AASHTO’s Live Load Distribution

IJCI - Applicability of the AASHTO’s Live Load Distribution ijci.avestia.com

ijci aashto finite configuration

Presentation

Presentation www.slideshare.net

presentation aashto lrfd

Solved: Fig. P1(a) Shows The Schematic Diagram Of A Truck | Chegg.com

Solved: Fig. P1(a) Shows The Schematic Diagram Of A Truck | Chegg.com www.chegg.com

truck aashto diagram fig per p1 schematic shows loading hl loads code take bridge distance solved axle moving transcribed text

Solved: Fig. P1(a) Shows The Schematic Diagram Of A Truck | Chegg.com

Solved: Fig. P1(a) Shows The Schematic Diagram Of A Truck | Chegg.com www.chegg.com

truck aashto diagram load hl loading solved problem fig axle p1 schematic shows single transcribed text been bridge

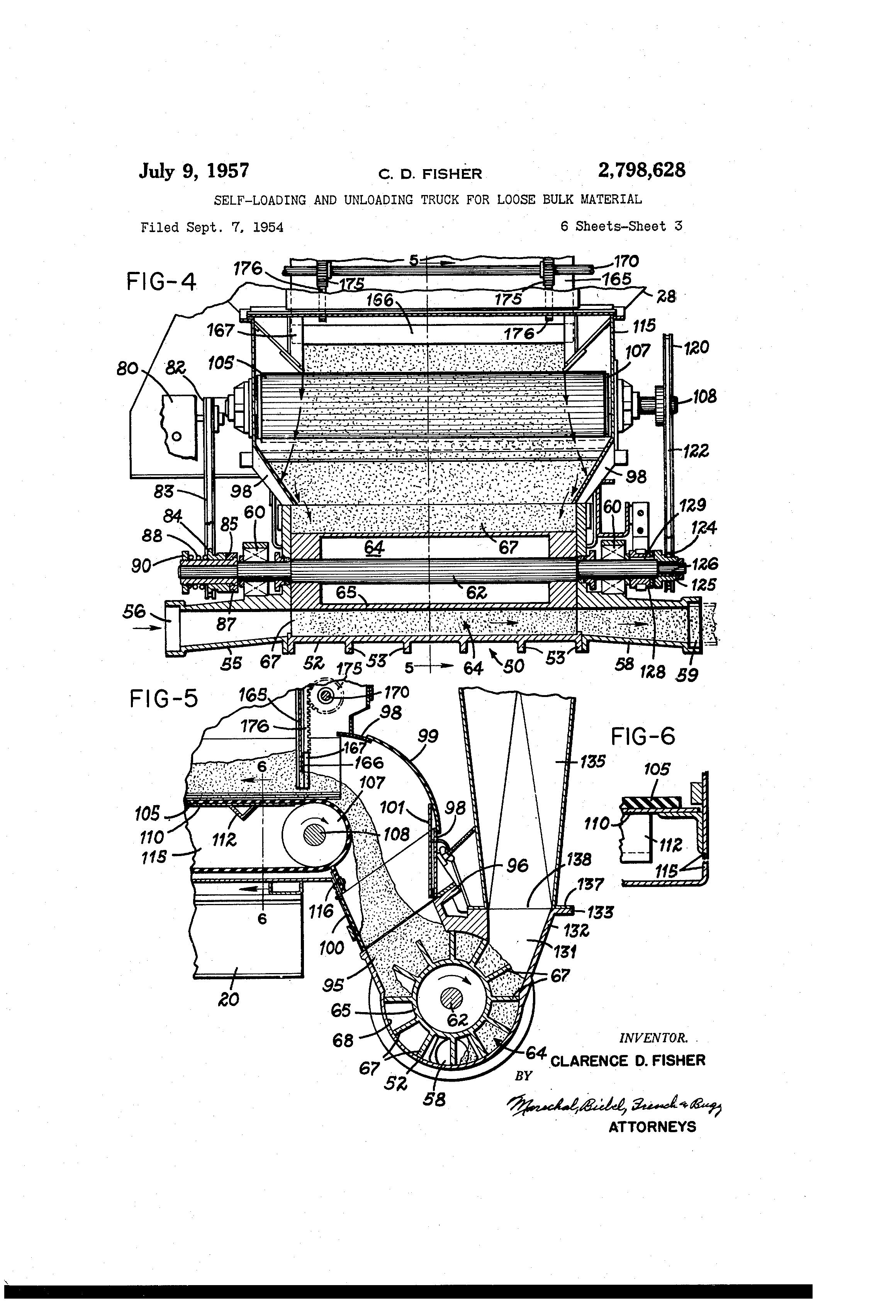
Patent US2798628 - Self-loading And Unloading Truck For Loose Bulk

Patent US2798628 - Self-loading and unloading truck for loose bulk www.google.com

truck patents unloading drawing bulk material loading

Ijci aashto finite configuration. Complete batch and loading systems. Load instability forklift stability truck safety fall raised raising create oshatrain courses